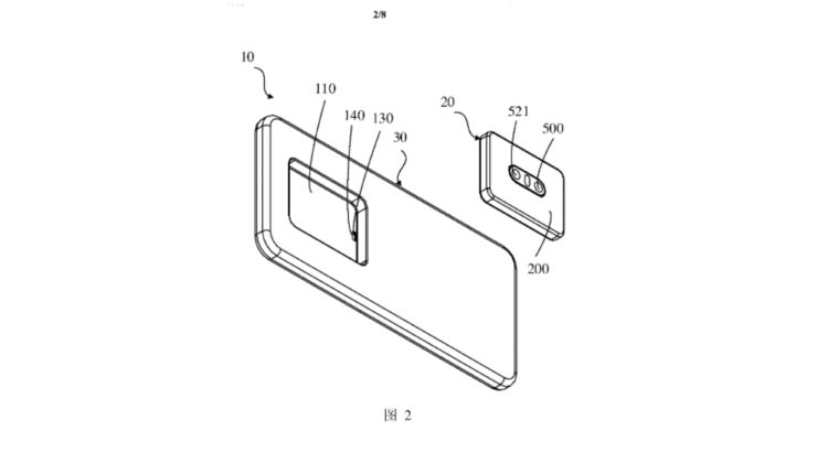
حصلت شركة Xiaomi شاومي الصينية على براءة اختراع لتصميم هاتف ذكي بكاميرا خلفية قابلة للفصل أو الإزالة، حيث تحتوي الكاميرا على عدد من المستشعرات فائقة الدقة التي تجعلها عند فصلها تنافس كاميرات التصوير.
وبحسب موقع Gizmochina التقني الصيني فإن المنظمة العالمية للملكية الفكرية منحت شركة شاومي براءة اختراع لتصميمها كاميرا هاتف خلفية قابلة للفصل مع إمكانية استخدام نفس التقنية مع كاميرات السيلفي الأمامية، وهو الأمر الذي سيعد ثورة في عالم كاميرات الهواتف.
وتعتبر شركة شاومي واحدة من الشركات الرائدة في تصميم الكاميرات وإطلاق كاميرات فائقة الدقة، حيث كانت أول شركة تقدم هاتف بدقة 108 ميجا بيكسل بالإضافة إلى تقديمها كاميرا سيلفي منبثقة مع مرآة عاكسة .
ورغم من أن شركة أوبو الصينية قد حصلت على براءة اختراع لكاميرا قابلة للإزالة مزودة ببطارية مزودة بمادة ليثيوم مخصوصة وواي فاي Wi-Fi ، إلا أن التقنية الموجودة في كاميرا شاومي الجديدة ستمكن من فصل كاميرات السيلفي والكاميرات الخلفية معا.
وكنت أعلنت الشركة عن تقنيتها للشحن اللاسلكي عن بعد Mi Air Charge ، حيث تمكن هذه التقنية المستخدمين شحن هواتفهم عن بعد في أي مكان داخل أرجاء المنزل بقوة 5 واط ، وتعتبر التقنية عبارة عن شحن لاسلكي عبر الهواء بدون كابلات أو حوامل.
صدى البلد


التعليقات مغلقة.